ابتكار أبل.. غطاء ذكي يحول آيفون إلى محطة اتصال فضائية
غطاء آيفون
ياسين عبد العزيز
كشفت تقارير تقنية حديثة عن براءة اختراع جديدة سجلتها شركة Apple، تحمل عنواناً مثيراً للاهتمام وهو "جهاز إلكتروني وغطاء مزود بقدرات اتصال عبر الأقمار الصناعية"، حيث تسعى الشركة من خلال هذا الابتكار إلى نقل تجربة الاتصال الفضائي من مجرد ميزة للطوارئ إلى مستوى أكثر احترافية وفاعلية لعام 2026.
تعتمد الفكرة الجوهرية لهذا المشروع على تزويد أغطية الحماية الخارجية بهوائيات إضافية متطورة، تهدف بالدرجة الأولى إلى تعزيز قوة استقبال الإشارة الصادرة من الأقمار الصناعية البعيدة، مما يضمن استمرارية الاتصال في المناطق النائية التي تفتقر تماماً لتغطية الأبراج الأرضية التقليدية.
يشير التصميم المسرب إلى أن هذا الابتكار لن يقتصر حصرياً على هواتف iPhone، بل تدرس الشركة إمكانية توسيع النطاق ليشمل أجهزة iPad أيضاً، وهو ما يفتح آفاقاً جديدة لمستخدمي الأجهزة اللوحية في مجالات الاستكشاف، والعمل الميداني في المواقع الجغرافية الصعبة والمنعزلة.
هوائيات ذكية
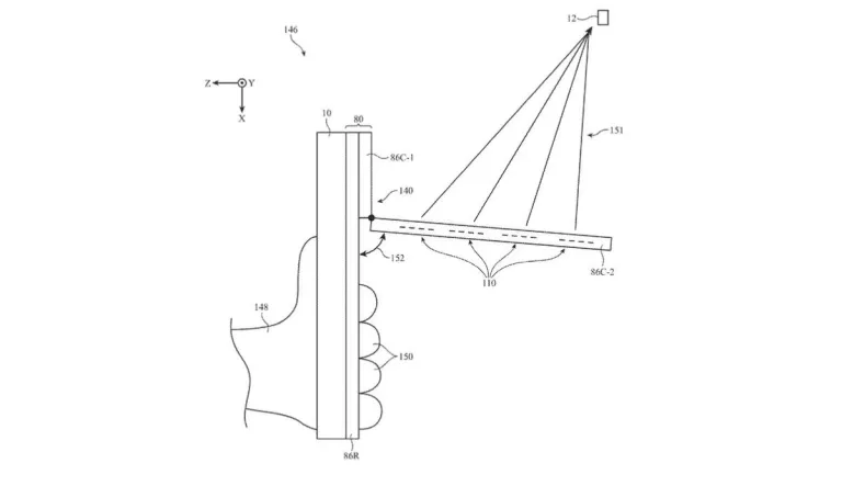
يضم الغطاء المقترح جزءاً ميكانيكياً قابلاً للفتح والتحريك، حيث يمكن للمستخدم توجيهه بدقة نحو السماء لاستقبال الإشارة بشكل مباشر، ويحتوي هذا الجزء على مصفوفة هوائيات موجهة عالية الحساسية، تضمن التقاط أضعف الترددات الفضائية المتاحة في المدارات الجوية القريبة.
يحل هذا التصميم العبقري مشكلة فنية لطالما واجهت أجهزة الاتصال الفضائي المحمولة، وهي حجب الإشارة عن طريق الخطأ عند إمساك الهاتف باليد، إذ يضمن وجود الهوائيات في جزء منفصل بعيداً عن قبضة المستخدم عدم تداخل الموجات، أو ضعف التغطية أثناء عملية الإرسال والاستقبال.

تسمح المصفوفة المتطورة داخل الغطاء بالاتصال بعدة أقمار صناعية في آن واحد، مما يزيد من سرعة نقل البيانات والموثوقية أثناء إجراء المحادثات أو إرسال الإحداثيات، ويعمل الغطاء في الوقت نفسه كدرع حماية تقليدي للجهاز، حيث يتميز بسهولة التركيب والإزالة دون تعقيدات تقنية.
نقل لاسلكي
توضح براءة الاختراع أن الغطاء سيتواصل مع الهاتف لنقل البيانات لاسلكياً، وذلك عبر موصل ترددات راديوية خاص أو من خلال تقنيات قريبة المدى مثل NFC، مما يلغي الحاجة لوجود كابلات أو توصيلات مادية قد تعيق حركة المستخدم، وتؤثر على المظهر الجمالي العام للجهاز.
تستهدف Apple من خلال هذا المفهوم توفير حلول عملية للمسافرين والمغامرين، الذين يحتاجون إلى أداة اتصال موثوقة دون الاضطرار لحمل أجهزة لاسلكية ضخمة، حيث يدمج الغطاء الذكي بين وظيفة الحماية المادية وبين القدرات الاتصالية العالية، التي كانت تتطلب في السابق أجهزة متخصصة ومستقلة.
يثير هذا التوجه تساؤلات حول مستقبل شرائح الاتصال التقليدية، فإذا نجحت الشركة في تحويل الأغطية إلى محطات تقوية فضائية، فقد نشهد تحولاً جذرياً في كيفية اشتراك المستخدمين في خدمات البيانات، والاعتماد بشكل أكبر على الشبكات الكونية التي تغطي كامل مساحة الكرة الأرضية بانتظام.
مجرد مفهوم
تجدر الإشارة كقاعدة عامة في عالم التكنولوجيا إلى أن تسجيل براءات الاختراع، لا يعني حتمية طرح المنتج في الأسواق بشكل تجاري قريب، فكثير من الشركات الكبرى ومنها Apple تسجل أفكاراً تجريبية لحماية حقوقها الفكرية، وقد تظل هذه الأفكار حبيسة المختبرات لسنوات طويلة.
يبقى من غير المؤكد حتى الآن ما إذا كانت الشركة ستحول هذا التصور إلى واقع ملموس، خاصة مع التحديات التقنية المتعلقة بحجم البطارية اللازمة لتشغيل هذه الهوائيات، ومدى تأثيرها على وزن الهاتف وسهولة حمله، وهي تفاصيل دقيقة ستحسم قرار الشركة النهائي بشأن الإنتاج الضخم.
أخبار ذات صلة
الأكثر مشاهدة
أحدث الموبايلات
-
Apple iPhone 13 Pro Max
-
Xiaomi Redmi Note 11
-
Samsung Galaxy A52s
-
OPPO Reno6 Pro 5G
-
realme GT2 Pro
-
vivo Y19
-
Honor 50 Pro
-
Huawei Nova 9
-
Nokia 8.3 5G
هل يتراجع عدد عملاء CIB خلال الفترة المقبلة بعد زيادة أسعار رسوم التحويل والخدمات؟
-
نعم
-
لا
-
غير مهتم
أكثر الكلمات انتشاراً